项目名称:济南低运量轨道交通高新东区环线工程轨道、系统、车场施工及车辆采购
建设单位:济南交通发展投资有限公司
建设地点:济南市历城区、高新区
建设规模:约30.8公里。济南低运量轨道交通高新东区环线工程轨道、系统、车场施工及车辆采购,包含轨道梁制作、安装及保修;综合车场及控制中心施工及保修;系统工程采购、集成、施工、调试及保修;车辆采购及相关技术服务;综合联调及试运行等内容。具体内容以技术要求、工程量清单及图纸为准。
第一名:比亚迪通信信号有限公司
中铁四局集团有限公司
比亚迪机电设备有限公司
深圳比亚迪轨道交通运营有限公司
比亚迪建设工程有限公司
投标报价:1978432168.88元
第二名:中铁一局集团有限公司
中铁一局集团电务工程有限公司
投标报价:1978438455.94元
第三名:中铁十局集团有限公司
中铁十局集团电务工程有限公司
投标报价:1978392653.57元
来源:济南市公共资源交易中心
干掉你的不是同行,而是跨界!
比亚迪建工总承包施工的项目,获奖!
据比亚迪建工官方消息:
2023年6月2日至4日,中国建筑金属结构协会表彰了第十五届第一批“中国钢结构金奖”获奖工程。由比亚迪建设工程有限公司总承包施工的“重庆市璧山区云巴工程项目”荣获中国钢结构最高奖项——中国钢结构金奖。
“中国钢结构金奖”和“鲁班奖”同属国际优质工程奖项,是经国务院批准的建筑领域国际级优质工程奖,是中国建筑钢结构行业工程质量的最高荣誉,代表了国内钢结构工程质量的领先水平。

璧山云巴项目采用偏心工字钢轨道梁,跨越能力强、工程体量小、景观性好,采用工厂预制、现场拼装的施工方法,工程周期短、精度高、质量好。
据“比亚迪云巴”官方微信消息,9月26日,合肥比亚迪园区云巴正式开通,这是比亚迪今年开通的第三条云巴线路,也是在全国开通的第七条云巴线路。
云巴是比亚迪研发的一种新型轨道交通制式,官方名称为“胶轮有轨电车”,全程采用高架线路,每小时单向客运能力小于1万人次。比亚迪称,云巴是其历时7年、投资近百亿打造的具有100%自主知识产权的全自动运行交通系统,适用于中小型城市干线、大城市加密线、机场高铁接驳线、景区观光线等。
在此之前,比亚迪已开通了6条云巴线路,包括深圳坪山、重庆璧山、长沙大王山三地的市政线,以及位于深圳、西安、长沙三地的园区线。市政线面向公众开放,园区线供比亚迪工业园区的员工内部通勤使用。
重庆璧山云巴是比亚迪第一条正式商业运营的云巴线路,于2021年4月16日开通。本次开通的合肥比亚迪长丰园区云巴线,里程约4.2公里,覆盖了园区内办公楼、厂房、宿舍、食堂等区域。
此前,比亚迪中标工程总承包项目!
此前,比亚迪建设工程有限公司作为联合体牵头方,成功拿下贵阳市有轨电车示范线(T2线一期工程)EPC工程总承包项目。
贵阳市有轨电车示范线(T2线一期工程)
EPC工程总承包项目
中标结果公告
项目名称:贵阳市有轨电车示范线(T2线一期工程)EPC工程总承包项目中标结果公告
项目概况:
建设地点:贵阳市。
建设规模:贵阳市有轨电车示范线(T2线一期工程)线路由国际生态会议中心站至二十六大道站,全长10.92公里。
中标信息:
中标人:
联合体牵头人:比亚迪建设工程有限公司
联合体成员:
中铁二院工程集团有限责任公司
中铁八局集团有限公司
比亚迪勘察设计有限公司
比亚迪建设工程有限公司
贵州省交通规划勘察设计研究院股份有限公司
发布日期:2022年3月4日
跨界之王比亚迪
比亚迪1995年成立于深圳,已成长为横跨汽车、轨道交通、新能源和电子四大产业的世界500强企业。
//
比亚迪建工

比亚迪建设工程有限公司成立于2017年7月,注册资金伍亿元整,是比亚迪集团旗下专业从事建设工程的全资子公司。
拥有市政公用工程施工总承包壹级资质,建筑工程施工总承包壹级、地基基础工程专业承包贰级、防水防腐保温工程专业承包贰级、建筑装饰装修工程专业承包贰级、钢结构工程专业承包贰级、特种工程专业承包不分等级、消防设施工程专业承包贰级、古建筑工程专业承包贰级、起重设备安装工程专业承包贰级、模板脚手架专业承包贰级、建筑机电安装工程专业承包叁级等资质。

比亚迪建设工程有限公司组织机构健全,管理体系完善,施工装备先进,具有雄厚的综合施工能力,专业技术力量配套,拥有强大的专业人才队伍,其中管理技术人员142人,一级建造师、造价师57人,拥有中高级职称200余人,各种技术技工248人。
公司对混凝土预制构件、钢结构、模具等产品具有研发、设计、制造、安装等全过程生产能力。
截至目前,预制构件已在八个地区建厂并投产总建筑面积达14万平米,PC梁产能约为100公里/年。
钢结构有三大生产基地,总面积为23.3万平方米,产能约为10万吨/年,且具备持续增长的能力。
同时,还拥有架桥机、旋挖机、大型吊车、顶管设备等一流的施工设备,具备高效、安全的综合施工能力。
轨道工程项目


建筑工程项目




//
比亚迪通号
比亚迪通信信号有限公司(以下简称“比亚迪通号”)为比亚迪全资子公司,成立于2017年10月,注册资本为11000万元公司生产总面积达5万平方,人员数量约1100人。
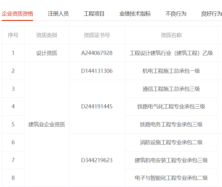
截止2022年6月30日,比亚迪通信信号有限公司共提交了近950余项专利申请,其中发明专利占比80.3%;公司目前拥有机电工程施工总承包一级、建筑工程设计专业乙级、电子及智能化工程、通信工程施工、铁路电务工程、铁路电气化工程、建筑机电工程安装、消防设施工程专业等资质。同时还拥有质量管理体系(通过ISO 22163 、ISO 9001&GB 50430认证)、环境管理体系、职业健康安全管理4项体系认证,目前已经获得轨道交通相关专利近950余件,软件著作权共计三十一项。

四库一平台显示比亚迪通号资质
公司目前拥有几十名一级建造师,高中级职称100余人;专业工程师500余人,专业技工500余人;各类现场管理人员及各类技术工种齐备,技工高空作业证覆盖率达87%。
比亚迪通号公司于2018年建成深圳市工程实验室。建设跨座式单轨列车通信信号系统测试见证与仿真工程实验室实验室,建成项目集成实验室、智控实验室、平台技术实验室、可靠性实验室、全自动运行仿真实验室。工程实验室共占地1400平方米,实验检测仪器设备及软件350台(套),搭建列车控制系统仿真测试环境,形成同时支持8条线路的仿真能力。